麻黄-20251201-250g/袋-选货
保存二维码:鼠标置上图二维码上右键“
图片另存为...
”
当前网址为:“
https://cp.jtyyy.com/plus/view.php?aid=184
”(请复制红色部分,不带双引号)
麻黄-20251201-250g/袋-选货
商品详情
品名
麻黄
产品批号
20251201
生产日期
2025-12-03
等级
选货
规格
段(选)
装量
250g/袋
产品属性
中药饮片
药材产地
宁夏 盐池
贮藏
置通风干燥处。防潮。
执行标准
《中国药典》2025年版
功能主治
发汗散寒,宣肺平喘,利水消肿。用于风寒感冒,胸闷喘咳,风水浮肿。蜜麻黄润肺止咳。多用于表证已解,气喘咳嗽。
生产企业
宁夏金太阳药业有限公司
复检日期
2030-12-02
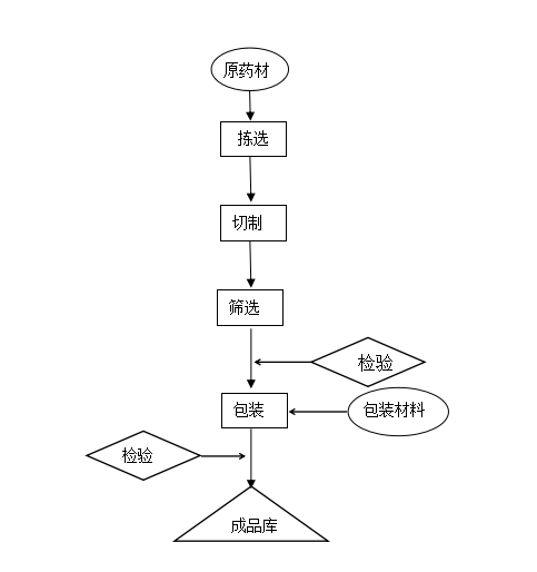
生产工艺流程
成品检验报告书
联系我们
打电话
0951-8648669
发邮件
nxlwdwd@163.com
宁夏金太阳药业有限公司
点击了解详情>>