酒黄精-20251101-500g/袋-选货
保存二维码:鼠标置上图二维码上右键“
图片另存为...
”
当前网址为:“
https://cp.jtyyy.com/plus/view.php?aid=194
”(请复制红色部分,不带双引号)
酒黄精-20251101-500g/袋-选货
商品详情
品名
酒黄精
产品批号
20251101
生产日期
2025-11-28
等级
选货
规格
厚片(选)
装量
500g/袋
产品属性
中药饮片
药材产地
安徽 九华山
贮藏
置通风干燥处,防霉,防蛀。
执行标准
《中国药典》2025年版
功能主治
补气养阴,健脾,润肺,益肾。用于脾胃气虚,体倦乏力,胃阴不足,口干食少,肺虚燥咳,劳嗽咳血,精血不足,腰膝酸软,须发早白,内热消渴。
生产企业
宁夏金太阳药业有限公司
复检日期
2030-11-27
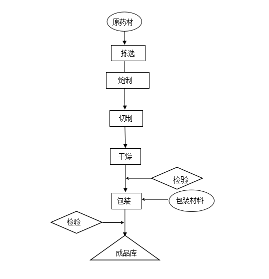
生产工艺流程
成品检验报告书
联系我们
打电话
0951-8648669
发邮件
nxlwdwd@163.com
宁夏金太阳药业有限公司
点击了解详情>>